售 后 電 話:400-857-0007
商 務 合 作:16638327819
公 司 地 址:河南省安陽市滑縣新區湘江路與白馬路交匯處東南角1號
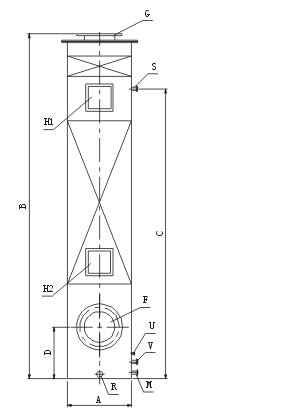
環氧乙烷氣體凈化吸收裝置是引進國外的先進技術自主研發出來的新一代氣體凈化吸收處理設備。QC型系列凈化吸收塔,具有阻力小、能耗省、噪音低、處理效率高,能有效去除環氧乙烷(C2H4O)氣 體,凈化后的廢氣達到國家排放標準。有玻璃纖維增強塑料(玻璃鋼),不銹鋼和熱塑性塑料等不同的材料。QCS系列逆流填料凈化吸收塔是設計用來凈化吸收含有EO污染物或組合氣流氣體和液體微粒。所有凈化吸收塔,都可 以實現最大的耐腐蝕性和高收集效率,最大減少運轉費用。
GB3095-1996《環境空氣質量標準》
GB16297-1996《大氣污染物綜合排放標準》
GB/T5226.1-1996《工業機械電器設備通用技術條件》
GB50058-92《爆炸和火災危險場所電力裝置設計規范》
環氧乙烷氣體凈化吸收裝置包含設備本體及自控系統。
1、設備本身包含有填料凈化吸收塔、循環噴淋管路、集水箱、儲水罐、汽水分離器等,實現環氧乙烷氣體的有效吸收,達到排放標準。
2、全自動控制系統可實現:自動循環凈化、自動補液、自動加酸、液體輸送和自動延時功能。實時監控:初始廢氣濃度、凈化氣體排放濃度、液位、Ph值等,一旦凈化氣體排放超標,即刻自動聲光報警。
環氧乙烷氣體經汽水分離器后進入集水箱,經均布器后進行初級噴霧凈化后進入填料凈化吸收塔,在風機的動力作用下,迅速充滿進氣段的空間,然后通過均布網上升到填料吸收段與噴淋系統噴出的吸收液反應吸收。最 后經過處理的潔凈空氣從填料凈化吸收塔上端排氣管經高速防腐蝕風機排入大氣。

- 上一篇:環氧乙烷水循環處理裝置-滑縣紅太陽醫療器械
- 下一篇:沒有了;
- 環氧乙烷滅菌器/柜-環氧乙烷滅菌設備生產廠家價格(全自動型)-就選滑縣紅太陽醫療
- 等離子滅菌器_低溫等離子滅菌器(卡匣式)-滑縣紅太陽醫療器械
- 環氧乙烷滅菌器-低溫環氧乙烷滅菌器廠家價格(全自動型)-滑縣紅太陽醫療器械
- 低溫等離子滅菌器_過氧化氫低溫等離子滅菌器(卡匣式)-滑縣紅太陽
- 口罩環氧乙烷滅菌器-環氧乙烷滅菌設備價格(大型)-推薦滑縣紅太陽醫療器械
- 環氧乙烷滅菌器廠家-河南口罩環氧乙烷低溫滅菌設備生產廠家(大型參數)-滑縣紅太陽醫療器械
- 過氧化氫低溫等離子滅菌器-大型600L-滑縣紅太陽醫療器械
- 環氧乙烷滅菌器_環氧乙烷滅菌器設備廠家(普通型)-選擇滑縣紅太陽醫療
- 醫用真空干燥柜(新款)
- 滅菌指示物抗力檢測儀-EO環氧乙烷抗力檢測儀器-滑縣紅太陽
- 醫院用全自動清洗消毒器
- 真空干燥箱_醫用真空干燥柜(箱)_醫用干燥柜-咨詢滑縣紅太陽醫療器械
- 內鏡清洗工作站
- 全自動軟式內鏡清洗消毒機
- 真空干燥箱(柜)-滑縣紅太陽醫療器械
- 干熱快速滅菌器
- 超聲波清洗機
- 煮沸消毒器
- 觸摸屏連續打印封口機-醫用打印封口-滑縣紅太陽醫療
- 干燥箱廠家-醫用低溫器械干燥箱價格-優選滑縣紅太陽
- 醫用純水機
- 大型脈動真空滅菌器
- 按鍵式打印封口機-滑縣紅太陽醫療器械
- 超聲波清洗機_超聲波清洗設備_全自動超聲波清洗機-選擇滑縣紅太陽醫療器械
- 干熱快速滅菌柜(箱/器)_高溫滅菌設備-推薦滑縣紅太陽醫療器械
- 小型脈動真空滅菌器(牙科口腔 )
- 雙門軟鏡儲存柜廠家-雙門儲存柜參數-滑縣紅太陽醫療器械
- 切割封口打印一體機-滑縣紅太陽醫療器械
- 醫用純水機_供應室純水機_純水機廠家-滑縣紅太陽醫療器械
- 內鏡清洗工作站-內鏡清洗設備-內鏡清洗機-滑縣紅太陽醫療器械
- · 醫用干燥柜/箱簡介和產品結構特點-滑縣紅太陽醫療器械
- · 醫用類型的空氣消毒機廠家-紅太陽醫療器械
- · 技術成熟的醫用干燥柜(箱)生產廠家-滑縣紅太陽醫療器械
- · 低溫等離子滅菌器生產廠家-滑縣紅太陽醫療器械
- · 過氧化氫低溫等離子滅菌器注意事項及禁用范圍——滑縣紅太陽醫療器械
- · ★過氧化氫低溫等離子滅菌器原理和適用范圍-滑縣紅太陽醫療器械
- · ★環氧乙烷滅菌器/滅菌柜操作流程和滅菌溫度要求了解-滑縣紅太陽醫療器械
- · ★脈動真空滅菌器/脈動真空滅菌柜了解-滑縣紅太陽醫療器械
- · ★脈動真空滅菌器結構原理圖解和一般使用年限-滑縣紅太陽醫療器械
- · ★脈動真空滅菌器和預真空滅菌器的區別哪些-滑縣紅太陽醫療器械

































